明細書全体で一貫して互換使用された異なるクレーム用語を定義的に同等と判断した地裁判決を支持したCAFC判決紹介
米国連邦巡回控訴裁判所(CAFC)は、争点となっているクレーム用語の「平易かつ通常の意味(plain and ordinary meaning)[i]」は、当該クレーム用語について特許権者が「この用語は ….. を意味する」と明言する定義文が明細書中に存在しないものの「辞書編集の原則(principles of lexicography)[ii]」に照らして、明細書全体における一貫した用語の互換使用という「クレーム解釈の内部証拠(intrinsic claim construction evidence)[iii]」に基づいて、特許権者によって実質的に再定義されたと判断し、第一審の連邦地方裁判所によるクレーム解釈を支持しました。
Aortic Innovations LLC v. Edwards Lifesciences Corp., et al., Case No. 24-1145 (Fed. Cir. Oct. 27, 2025) (Prost, Reyna, Chen, JJ.)
1.事件の経緯
Aortic Innovations LLC(以下、「Aortic社」)は、病変した大動脈弁を人工心臓弁で置き換える手術である経カテーテル大動脈弁置換術(transcatheter aortic valve replacement)用のデバイスに関する4件の米国特許(第10,881,538号、第10,966,846号、第10,987,236号、第11,129,735号:以下、「本件特許」と総称)を所有しています。これら本件特許は、1つの先行米国特許出願から派生したものであって共通の明細書を有しており、かつ1つの米国仮出願に基づく優先権を主張しています。
この共通の明細書には2種類の装置が開示されていますが、その1つが、主に大動脈疾患の治療を目的とした、上行大動脈瘤などの血管内修復のための「エンドグラフトデバイス(endograft device)」であり、もう1つはフレーム部品を備えた「経カテーテル弁(transcatheter valve)」です。Aortic社は、後者のフレーム部品を備えた経カテーテル弁に関する本件特許のクレームを侵害したとして、Edwards Lifesciences Corporation, Edwards Lifesciences LLC, およびEdwards Lifesciences(U.S.), Inc.,(以下、「Edwards社」と総称)をデラウェア州連邦地方裁判所(以下、「地裁」)に提訴しました。
Edwards社は、被疑侵害品である自社の弁は自己拡張型フレームを備えていないため本件特許を侵害していないと主張しました。地裁は、本件特許のクレームに係る弁は自己拡張型フレームを備えるものであると解釈し、Edwards社の主張に同意して自己拡張型フレームを備えていない被疑侵害品は非侵害であるとの判決を下しました。Aortic社は、地裁によるクレーム用語の解釈に異議を唱え、非侵害の判決を不服としてCAFCに控訴しました。
2.本件特許の説明
本件特許のうち争点となった米国特許第11,129,735号(以下、「’735特許」)のクレーム1の原文およびその弊所仮訳を以下に示します(判決原文中の強調部分を太字斜体で示します)。
**********
(クレーム1原文)1. An endovascular transcatheter valve assembly comprising:
an outer frame,
wherein the outer frame is formed from a metallic material and defines an open cell configuration
wherein the outer frame includes an inflow end at a proximal portion thereof and an outflow end at a distal portion thereof,
wherein the outer frame is formed by a plurality of struts that adjoin each other at the inflow end to form apices:
an inner frame that engages a prosthetic heart valve having prosthetic leaflets, wherein the inner frame includes a cylindrically extending inner graft covering extending at least partially radially outwardly of the prosthetic heart valve and radially inwardly of the outer frame for providing sealing to the prosthetic heart valve,
wherein the outer frame is secured to the inner graft covering by stitching a proximal portion of the outer frame;
an outer seal for preventing paravalvular leaks that at least partially extends over at least two most proximal rows of cells formed in the outer frame,
wherein the outer seal is formed of outwardly extending fibers positioned externally to the outer frame,
wherein the valve assembly has a radially compressed orientation and a radially expanded orientation,
wherein the valve assembly is configured to press some of the fibers against native leaflets of the aorta of the patient
wherein an end of the apices of the outer frame that are most proximal are covered by the outer seal and the graft covering,
wherein the end of the most proximal apices of the outer frame extends more proximally than a proximal end of the outer seal.
(クレーム1仮訳)1. 血管内治療用経カテーテル弁アセンブリであって、
外側フレームを備え、
前記外側フレームは、金属材料から形成されかつ開放セル構成を画定し、
前記外側フレームは、その近位部における流入端とその遠位部における流出端とを含み、
前記外側フレームは、前記流入端で互いに隣接して頂点を形成する複数の支柱によって形成され、
前記血管内治療用経カテーテル弁アセンブリはさらに、
人工弁尖を有する人工心臓弁と係合する内側フレームを備え、
前記内側フレームは、前記人工心臓弁を密閉するために前記人工心臓弁の少なくとも部分的に半径方向外側にかつ前記外側フレームの半径方向内側に円筒状に延びる内側グラフトカバーを含み、
前記外側フレームは、前記外側フレームの近位部を縫合することによって前記内側グラフトカバーに固定され、
前記血管内治療用経カテーテル弁アセンブリはさらに、
前記外側フレームに形成されたセルの少なくとも2つも最も近位の行にわたって少なくとも部分的に延びる、弁周囲漏出を防止するための外側シールを備え、
前記外側シールは、前記外側フレームの外側に配置された外向きに延びる繊維で形成され、
前記弁アセンブリは、半径方向に圧縮された向きと半径方向に拡張された向きとを有し、
前記弁アセンブリは、患者の大動脈の生来の弁尖に繊維の一部を押し付けるように構成され、
前記外側フレームの最も近位の頂点の端部は、前記外側シールと前記グラフトカバーとによって覆われ、
前記外側フレームの最も近位の頂点の端部は、前記外側シールの近位端よりも近位に延びる、血管内治療用経カテーテル弁アセンブリ。
**********
本件特許の対象である経カテーテル大動脈弁置換術用のデバイスは狭径に収縮し、デリバリーカテーテルを介して患者の病変部まで送られることが当該技術分野において知られています。病変部に到達すると、デバイスはカテーテルシースから取り出され、以下の2つの方法のいずれかで拡張され、所定の位置に固定されます。1つ目の方法は、「バルーン拡張型フレーム(Balloon-Expandable Frame)」を介して拡張する方法であり、これは、デバイス中央でバルーンを膨張させることで収縮状態から展開状態まで拡張することを必要とするフレームです。2つ目の方法は、「自己拡張型フレーム(Self-Expanding Frame)」を介して拡張する方法であり、自己拡張型フレームは、デリバリーカテーテルから放出された後、形状記憶材料によって拡張し、元の形状に戻ります。これら2種類のフレームを以下に示します(左側が「バルーン拡張型フレーム」、右側が「自己拡張型フレーム」)。
共通明細書の「概要(summary)」の項目の記載によれば、本件特許の「経カテーテル弁」は、フレーム部品の近位端から遠位に延びるバルーン拡張型フレームと、バルーン拡張型フレームに固定された自己拡張型フレームとを有するフレーム部品を含みます。
この点に関して明細書には2つのカテゴリーの実施形態が開示されています。明細書はまず、「直列フレーム(serial-frame)」の実施形態を開示しており、そこでは、自己拡張型フレームとバルーン拡張型フレームとが接合点で接続されるものであり、外側フレームや内側フレームはなく、1つの直列フレームであることを意味しています。次に、明細書には、「二重フレーム(dual-frame)」の実施形態が開示されています。これは、内側フレームが外側フレームの内側に位置するものです。
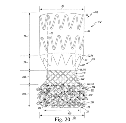
この二重フレームの実施形態については、明細書には、以下の図20に示すような二重フレーム経カテーテル弁が提示されています。
明細書においては図20について議論する際に、416で示された構成要素を「外側フレーム」と複数回呼んでおり、「外側フレーム416はポリマー材料から形成されてもよいことを理解されたい。」とも記載しています(’735特許の第17コラムの第65行~第66行)。また明細書では、416で示される構成要素を「自己拡張型フレーム」または「自己拡張型外側フレーム」と複数回呼んでいます。たとえば明細書は「二重フレーム414は、自己拡張型の外側フレーム416と、自己拡張型の外側フレーム416に固定され弁32を収容するバルーン拡張可能な内側フレーム218とを含む。」と記載しています(’735特許の第17コラムの第58行~第61行)。
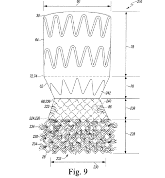
一方、明細書は、図9について議論する際に、216で示される構成要素を「外側フレーム」と複数回呼んでいます(例えば、「外側フレーム216は、細長い近位セクション220を含む…」という記載(’735特許の第12コラムの第20行~第23行))。また、216で示される構成要素を「自己拡張型フレーム」または「自己拡張型外側フレーム」と複数回呼んでいます(例えば、「図9を参照すると、自己拡張型外側フレーム216は、概ね砂時計の形状を有する…」という記載(’735特許の第12コラムの第14行~第18行)、「自己拡張型フレーム216の外側に先細りした中間部62は…」という記載(’735特許の第12コラムの第64行~第67行))。
3.地裁の判断
クレーム解釈に際して地裁は、Aortic社が自ら辞書編集者(lexicographer)となり、「外側フレーム(outer frame)」という用語を「自己拡張型フレーム(self-expanding frame)」として再定義した、と判断しました。これは、上述の2つの実施形態における同一の構造を参照する際に、「外側フレーム」、「自己拡張型フレーム」、および「自己拡張型外側フレーム(self-expanding outer frame)」という用語が互換的に使用されていることを根拠としています。この解釈に基づきEdwards社は、被疑侵害品である自社の弁は自己拡張型フレームを備えていないため本件特許を侵害していないと主張しました。地裁はこれに同意し、非侵害の判決を下しました。Aortic社は、地裁による「外側フレーム」というクレーム用語の解釈に異議を唱えCAFCに控訴しました。
4.CAFCの判断
Aortic社は、「外側フレーム」には「外側に配置される」という平易かつ通常の意味が与えられるべきであると主張し、明細書は「外側」を「自己拡張型」であることを必要とするように限定することを支持していないと議論しました。CAFCは、そのような解釈について辞書編集上の原則を適用しつつ、その根拠として内部証拠としての明細書の記載内容に依拠し、この主張に同意しませんでした。
CAFCは、辞書編集の原則を適用するに際し、当業者が特許明細書全体を通じて2つのクレーム用語が一貫して互換的に使用されていることを理解できる場合、これらの用語は定義的に同等であるとみなせると判断しました。CAFCはいくつかの例を挙げ、Aortic社がフレームを記述する際に明細書全体を通じて「外側フレーム」、「自己拡張型フレーム」、「自己拡張型外側フレーム」を互換的に使用していたことを指摘し、「外側フレーム」は「自己拡張型」を必要とするものと適切に解釈されると結論付けました。
明細書をクレーム解釈の内的証拠として使用することに関して、CAFCは、明細書は「外側フレーム」を一貫して「自己拡張型フレーム」と記述しており、その特徴を特定の実施形態に限定していないと判断しました。このことから、CAFCは、明示的な例外または説明がない限り、当業者は弁の構造上、すべての実施形態において自己拡張型外側フレームが必要であると理解するだろうと結論付けました。
Aortic社は別の方策として、Edwards社が「外側フレーム」の明白かつ通常の意味から逸脱した解釈を主張することは、司法上の禁反言であると主張しました。Aortic社は、Edwards社が以前、米国特許商標庁特許審判部(PTAB)において「外側フレーム」はその明白かつ通常の意味を用いて定義されるべきであると主張したが、後に地裁において反対の立場を取り、この用語は「自己拡張型フレーム」のみを指すと主張していた、と主張しました。CAFCはこれに同意せず、Aortic社が地裁において司法上の禁反言の主張を十分に展開しなかったと説明しました。例外的な事情がない限り、CAFCはAortic社が主張を放棄していた、と結論付けました。
CAFCは、Aortic社の主張に説得力がないとし、主張された特許について地裁の非侵害の判決を支持し、争点となっているクレームの用語に関する地裁の解釈を支持しました。
5.実務上の留意点
(1)クレーム用語の解釈について
上述のようにCAFCは、辞書編集の原則を適用するに際し、当業者が明細書全体を通じて2つのクレーム用語が一貫して互換的に使用されていることを理解できる場合、これらの用語は定義的に同等であるとみなせると判断しました。CAFCは、明細書は「外側フレーム」を一貫して「自己拡張型フレーム」と記述しており、その特徴を特定の実施形態に限定していないと判断し、明示的な例外または説明がない限り、当業者は弁の構造上すべての実施形態において自己拡張型外側フレームが必要であると理解するだろうと判断しました。
このような本件CAFC判決は、米国特許出願を準備する際に、特にクレーム用語の定義と明細書との関係について出願人が留意すべき重要な実務上の留意点を示唆しています。特許出願人が特許出願を準備する際に留意すべき実務上の事項は以下の通りです。
(ⅰ)用語の互換使用に関する厳格な基準に留意すること
特許出願人は、基本的にクレームの用語がその平易かつ通常の意味を有するものとして広く解釈されることを期待できますが、特許出願人が明細書においてその用語を明確に再定義したことが明らかな場合にはその再定義された意味に解釈され、解釈の範囲が限定されます。特許出願人が自身の辞書編集者として振る舞うための基準は厳格であり、特許権者は、争点となっているクレーム用語の定義をその通常の意味とは異なるものとして「明確に再定義」しなければなりません。ただし、明示的な再定義がなくとも、明細書内で2つの用語が継続的かつ明確に互換的に使用されている場合、その2つの用語は同義であると見なされ、再定義に等しいと解釈される可能性があります。
実務上の対策としては、クレームで使用する用語が広い意味を持つことを意図している場合、明細書内でその用語をより限定的な特性を持つ別の用語と一貫して互換的に使用することを避けるべきです。単に代替物として言及したりする程度ではクレーム用語の再定義とみなされるには不十分ですが、本件のように「一貫した明確な互換的使用」は限定とみなされることに留意すべきです。
(ⅱ)明細書全体における必須要素の表現を明確にすること
明細書において構成要素の特性が必須であるかのように記述されると、クレームの限定と見なされるリスクが高まります。本件判決では、明細書の「概要(summary)」の項目における経カテーテル弁の概要説明が、「バルーン拡張型フレームと、・・・バルーン拡張型フレームに固定された自己拡張型フレームとを有する」と述べていた点、さらに、実施形態(図9の構造216および図20の416)における自己拡張性の性質がすべての実施形態で存在すると明確かつ一貫して伝達されていた点が重視されました。
実務上の対策としては、自己拡張性のような特定の特性が発明の「まさに性質そのもの(very character of the invention)」に必要であると読み取られないように、もしその特性が選択的であるならば、それを明確に記述する必要があります。
(2)法的手続き上の論点の放棄を避けること
本件の第二の争点として、Aortic社は、Edwards社がPTABと地裁とで異なるクレーム解釈の立場をとったことについて禁反言の原則を適用すべきだと主張しましたが、この主張は地裁で適切に提起されなかったため、控訴審で放棄されたと判断されました。
訴訟手続きにおいて、禁反言のように相手方の立場の一貫性を争う法的な論点がある場合、地裁でその論点を明確に展開し、適用される法を引用して主張しなければ、控訴審でその論点は考慮されないことに留意すべきです。
[i] 米国特許法における特許クレームの解釈に関する最も基本的な原則の一つであり、クレームの用語は、特許明細書や図面といった内部証拠を考慮した上で、当業者が理解するであろう通常の意味で解釈されることを指します。
[ii] クレームの用語は通常、その当業者が理解する「平易かつ通常の意味」で解釈されますが、特許出願人は「自身の辞書編集者(own lexicographer)として振る舞う」ことが認められており、出願人は、明細書の中で特定の用語に対して、通常の意味とは異なる独自の定義を明確に与えることができます。この「辞書編集の原則」は、米国特許訴訟におけるクレーム解釈の重要な指針の一つであり、特許出願人が明細書において用語をどのように定義・使用したかが、最終的な特許権の範囲を決定する上で極めて重要であることを示しています。
[iii] 特許の権利範囲を確定させるために用いられる、特許権そのものに関連する公的な記録のことであり、クレームの用語の意味を決定する際に、辞書や専門家の証言などの「外部証拠(extrinsic evidence)」よりも優先して考慮されます。一般的に、以下の3つの資料が内部証拠とされます。
・クレームの文言:最も重要かつ第一優先となる情報源であり、その用語の通常の意味が検討されます。
・明細書:発明の詳細な説明や図面を含み、特許権者が(辞書編集者として)用語を独自の意味で定義している場合や、発明の文脈を理解するための「最良のガイド」として重視されます。
・審査経過:出願から特許査定に至るまでの特許庁とのやり取り(拒絶理由通知への応答など)であり、出願人が審査過程で行った主張や権利範囲の限定は、後の解釈を拘束します。
[担当]深見特許事務所 堀井 豊
[情報元]
1.McDermott Will & Emery IP Update | November 6, 2025 “Reframing the claim: Plain and ordinary meaning falls to lexicography”
2.Aortic Innovations LLC v. Edwards Lifesciences Corp., et al., Case No. 24-1145 (Fed. Cir. Oct. 27, 2025) (Prost, Reyna, Chen, JJ.)(判決原文)
(https://www.cafc.uscourts.gov/opinions-orders/24-1145.OPINION.10-27-2025_2593688.pdf)




